showpony4
New member
Hi everyone
Total noob here - apologies if there is a resource somewhere on the forums that would answer my question, but I couldn't find it!
Ive never wired in different pickups before so I may be setting myself too hard a task here...but
I have a 1986 Ibanez Roadstar RG652 (Japan only model) that I would like to upgrade with a set of P-Rails.
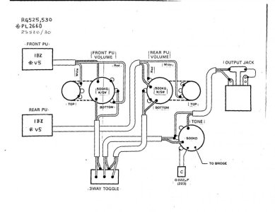
The wiring diagram for the factory pickups in the Ibby is, I believe, exactly the same as this: https://ibanez.fandom.com/f/p/3672182290907442699

The way the current set up works is that is - bridge and neck volume knobs each has a push/push that splits the stock humbucking pickup
- 1 master tone
- 3 way toggle for selecting the pickups.
I cannot find a wiring diagram for Prails in that configuration on the Seymour Duncan website.
I'm thinking that I will have to replace the pots with push/pulls (the current ones are the push/push - i.e. latching style ones)
I'm not concerned about having the series versus parallel option, but really want to be able to have each pickup (neck and bridge) as a PRail where I can select P90coil, the rail coil or the humbucker.
So, the nearest I can find to a diagram that would show me how to achieve that would be this one:
https://www.seymourduncan.com/images/wiring-diagrams/2PRail_3G_2VppSPL_2T.jpg

As I have no idea - I'm hoping someone could show me what this diagram would look like if the 2 tones were replaced with a single master tone knob??
...and I'm confused as to why the neck pickup black wire seems to go to the bridge volume and vice versa? My reading of the instructions with the pickup would have me doing the opposite....
any hero greatly appreciated!
Total noob here - apologies if there is a resource somewhere on the forums that would answer my question, but I couldn't find it!
Ive never wired in different pickups before so I may be setting myself too hard a task here...but
I have a 1986 Ibanez Roadstar RG652 (Japan only model) that I would like to upgrade with a set of P-Rails.
The wiring diagram for the factory pickups in the Ibby is, I believe, exactly the same as this: https://ibanez.fandom.com/f/p/3672182290907442699

The way the current set up works is that is - bridge and neck volume knobs each has a push/push that splits the stock humbucking pickup
- 1 master tone
- 3 way toggle for selecting the pickups.
I cannot find a wiring diagram for Prails in that configuration on the Seymour Duncan website.
I'm thinking that I will have to replace the pots with push/pulls (the current ones are the push/push - i.e. latching style ones)
I'm not concerned about having the series versus parallel option, but really want to be able to have each pickup (neck and bridge) as a PRail where I can select P90coil, the rail coil or the humbucker.
So, the nearest I can find to a diagram that would show me how to achieve that would be this one:
https://www.seymourduncan.com/images/wiring-diagrams/2PRail_3G_2VppSPL_2T.jpg

As I have no idea - I'm hoping someone could show me what this diagram would look like if the 2 tones were replaced with a single master tone knob??
...and I'm confused as to why the neck pickup black wire seems to go to the bridge volume and vice versa? My reading of the instructions with the pickup would have me doing the opposite....
any hero greatly appreciated!