ToreyCMoore
New member
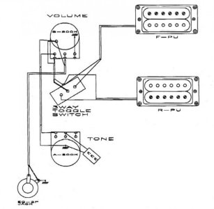
Alright, I need to know how to wire a set of Duncan Hot Rails, into a B.C. Rich Warlock, The pickups it had in it were crap, but my problem is, the wiring diagram for the hot rails show it running through 4 pots, How would I wire them into 2 pots?
Thanks in advance.
Thanks in advance.
