Fishman Fluence Modern Humbucker -any updates, it's been a couple of years

Re: Fishman Fluence Modern Humbucker -any updates, it's been a couple of years

I will agree, stancaster when I saw that you'd picked up a set of Moderns all I could think of was how, of all the available Fluence models, that was the most wrong one for you! LOL No big deal, different people like different things!

As for the magnetic field, and what happens when pickups are close to the strings, it's very complicated. Basically the short answer is, it depends on the way you play. There's no other way around it. There's no right answer, aside from when the pickup is too close and does undesirable things to the string's natural vibration. Seymour likes a JB right up against the strings, with the screw poles adjusted very low. But, he also likes weak magnets, and plays with his fingers! So his situation is unique; it's non-standard.

And it's different from one pickup type to the next. A blade magnet can have a lower field, pole pieces have north or south poles next to other same polarity poles, so they reject, causing a teardrop/candle flame type shape where the flux comes out, but then is directed back (except on the outer 2 strings) Finally Alnico poles like a Strat or Tele are very strong directionally, AND they have neighboring poles focusing them, so generally they're adjusted lower than HB types.

And that's just the tip of the iceberg. To say whether close or far produces more "clarity" or note definition is totally premature. It doesn't address the way the player plays, or what is next in the signal chain. If the first thing is a fuzz pedal, then yeah, lower pickups = more clarity. If the first thing is a clean compressor, then it could be the opposite. Plus an infinite combination of situations in between.

With all due respect Frank I think you should ask Fishman to update their description of the Moderns to emphasize the aggressive nature of both Bridge and Neck pickups.

As it is:
"Voice 1:

Modern Active
The ideal active alnico sound. Full, round, and boosted, but with unprecedented articulation and dynamics.


Voice 2:

Crisp, clean and fluid
The clean, crisp neck humbucker tone you’ve always wanted, without the thin, plinky sound you don’t."

From my experience it really doesn't reflect the actual sound of the pickup. I'm sure Fishman's Tech writers could come up with something that better represents the sound of the Moderns.
 
Re: Fishman Fluence Modern Humbucker -any updates, it's been a couple of years

Kent Armstrong custom 12 screw pole Bridge pickup is the only pickup I have that sounds better that all the rest.
Rambling this A.M. so I thought I would get that out of my system.
 
Re: Fishman Fluence Modern Humbucker -any updates, it's been a couple of years

No, it is not in a catalogue. Kent custom wound it based on my telling him exactly what I was looking for. The process of getting my definition clear to him involved a half a dozen or so emails. The final result was a custom pickup that is Magnificent.
 
Re: Fishman Fluence Modern Humbucker -any updates, it's been a couple of years

Sound on Sound conducted as close to "scientific" comparison as an N=1 experiment this-vs-that before/after can get. The audio examples pushed me over the edge. When I'm done with the tele set, the classic set and the modern set, ther'll be well recorded, documented and consistent comparisons like this for the other 3 core sets (if the tele set counts despite Greg's name). Assuming this all goes well, I'll grab a strat set and a strat to round it out.

Heres the review with comparison soundcips that aren't youtube compressed or recorded with an iphone camera mic.

http://www.soundonsound.com/sos/mar15/articles/fishman-fluence.htm
 
Re: Fishman Fluence Modern Humbucker -any updates, it's been a couple of years

in hopes of achieving closure with the issue Funkfingers seems to have with me

Nothing personal. My issue was entirely with adherence to the rules of reasoned debate.

Anyone who throws in, "I'm right. You are wrong", is duty bound to explain why.

I hope funkfingers we can now relax ...

Rust Never Sleeps

... and agree that within its context, my post was valid and GuitarDoc's diagnosis for my case was incorrect.

Ideally, both of you ought to have laid out some form of demonstrable and repeatable evidence to support your respective standpoints.



"Because I say so" should never be good enough.

The things that you, I, Doc, Falbo et al write are not true because we assert them. If something is true, it is true in spite of who asserts it.

In the specific example of pickup-to-string distance adjustment, I have encountered some pickups that go best right up close to the vibrating strings and others that give of their best far further away than would have been expected. I am yet to find one setting that fits all circumstances.

Perhaps, if you and Doc's virtual heads could be banged together in cyberspace, honour would be satisfied?
 
Re: Fishman Fluence Modern Humbucker -any updates, it's been a couple of years

I, for one, would much like to see those graphs being talked about.

leevc5, would you be so kind to comply?
 
Re: Fishman Fluence Modern Humbucker -any updates, it's been a couple of years

I, for one, would much like to see those graphs being talked about.

leevc5, would you be so kind to comply?

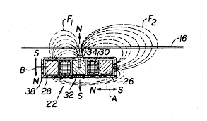
We'll start with this one(there are several other types that basically show the same phenomenon). The magnetic field is concentrated very close to the pup and as you move further out you move into area's where "distortion" increases as clarity decreases.

00001magfeild.png
 
Last edited:
Re: Fishman Fluence Modern Humbucker -any updates, it's been a couple of years

Sound on Sound conducted as close to "scientific" comparison as an N=1 experiment this-vs-that before/after can get. The audio examples pushed me over the edge. When I'm done with the tele set, the classic set and the modern set, ther'll be well recorded, documented and consistent comparisons like this for the other 3 core sets (if the tele set counts despite Greg's name). Assuming this all goes well, I'll grab a strat set and a strat to round it out.

Heres the review with comparison soundcips that aren't youtube compressed or recorded with an iphone camera mic.

http://www.soundonsound.com/sos/mar15/articles/fishman-fluence.htm

Those are excellent sound clips.
I think I am going to buy a set. Any links on where to purchase? I can only find one place on ebay.
 
Re: Fishman Fluence Modern Humbucker -any updates, it's been a couple of years

Reverb, Sweetwater... Tons of places show up on Google searches


Sent from my iPhone using Tapatalk
 
Re: Fishman Fluence Modern Humbucker -any updates, it's been a couple of years

We'll start with this one(there are several other types that basically show the same phenomenon). The magnetic field is concentrated very close to the pup and as you move further out you move into area's where "distortion" increases as clarity decreases.

View attachment 72558

Are you aware that's a drawing of what a magnetic field supposed to be, not a graph of the result of actual measuring?
 
Re: Fishman Fluence Modern Humbucker -any updates, it's been a couple of years

Are you aware that's a drawing of what a magnetic field supposed to be, not a graph of the result of actual measuring?

Yes, of course I know the difference between a graph and a drawing.
Are you aware of what a stupid question is?
 
Re: Fishman Fluence Modern Humbucker -any updates, it's been a couple of years

Yes, of course I know the difference between a graph and a drawing.
Are you aware of what a stupid question is?

I apologize for my hasty and uncalled for remark.

The drawing is the representation of a several graphs with significant amounts of commentary regarding how the measured data was used to generate it. I assumed that providing the results rather than an encyclopedia of information would be sufficient.

At this point I am throwing in the towel. I like my strings close to the pickups because that's what sounds best to me. I have tried to understand why and made some small attempt to share that on this thread. I have evidently failed and that's OK. Set up your guitar however best suits you and play on. Better to play on the guitar than on a forum...EOS
 
Last edited:
Re: Fishman Fluence Modern Humbucker -any updates, it's been a couple of years

I like my strings close to the pickups because that's what sounds best to me. I have tried to understand why and made some small attempt to share that on this thread. I have evidently failed and that's OK. Set up your guitar however best suits you and play on.

This is the subjective bit. There is no single adjustment that universally suits all guitarists. In fact, there is no single adjustment that suits one guitarist every single day, week in, week out.

There is also the question of what is technologically possible versus what is aesthetically desirable. Sometimes, we want gear to give us what we already know and enjoy. At other times, it is good to be taken out of our comfort zones by something different. I see uses for both.
 
Re: Fishman Fluence Modern Humbucker -any updates, it's been a couple of years

I apologize for my hasty and uncalled for remark.

The drawing is the representation of a several graphs with significant amounts of commentary regarding how the measured data was used to generate it.
Apology accepted. If you cited the source, maybe that'll share some light about the context of what exactly that represents. Being in a hospital bed at the moment, I can't look, but, IIRC, that drawing is from one patent for a magnetic p'up, maybe from early '50s, am I right?

EDIT: Got it! That's the Atilla Zoller p'up, and that's from the patent.
 
Last edited:
Re: Fishman Fluence Modern Humbucker -any updates, it's been a couple of years

Apology accepted. If you cited the source, maybe that'll share some light about the context of what exactly that represents. Being in a hospital bed at the moment, I can't look, but, IIRC, that drawing is from one patent for a magnetic p'up, maybe from early '50s, am I right?

EDIT: Got it! That's the Atilla Zoller p'up, and that's from the patent.

Well done. The Germans certainly provide excellent data.

If you want Fluence Classics why not buy these:
http://www.ebay.com/itm/Fishman-Fluence-Classic-Humbucker-Brushed-Stainless-Pickup-Set-OPEN-BOX-/121990894164?hash=item1c67395254:g:vWQAAOSwS7hXAecu#shpCntId
It appears they ship world wide and Italy is not on the exclusion list.
Talking Fluence would be far more productive if you had some ears on experience with them.
 
Re: Fishman Fluence Modern Humbucker -any updates, it's been a couple of years

Sound on Sound conducted as close to "scientific" comparison as an N=1 experiment this-vs-that before/after can get. The audio examples pushed me over the edge. When I'm done with the tele set, the classic set and the modern set, ther'll be well recorded, documented and consistent comparisons like this for the other 3 core sets (if the tele set counts despite Greg's name). Assuming this all goes well, I'll grab a strat set and a strat to round it out.

Heres the review with comparison soundcips that aren't youtube compressed or recorded with an iphone camera mic.

http://www.soundonsound.com/sos/mar15/articles/fishman-fluence.htm

Played a Tele loaded with the Fluence set yesterday. A friend form Lompoc of all places stopped by on his way to LA for session work and he had his Tele with the Fluence pups that he obtained through connections he has.

Anyway, these fluence Tele pups are absolutely incredible! We played for about two hours trading off Tele's (mine has Custom Shop Twisted Pair). The Fluence simply blew away the TP's in my Tele. I have no idea what Fishman did to develop these pups but they truly outdid themselves. The V1 setting is a downright classic Tele sound with country twang in the bridge and nice solid mids and bass out of the neck. V2 is the real killer it has the punch of Tele with a HB neck, amazing sustain and an aggressive kick butt sound.

The Classics in my Les Paul sound great as I said before but nothing really earth shattering as they IMO are equivalent to Seth's and 59s. The Tele pups are definitely an advance in what I have ever heard come out of another Tele pup.

Going to sell a couple of guitars and extra pups I have. Buy another Tele and a set of these for sure. Anybody out there got a Tele they want to sell? Got to find a Tele.
 
Re: Fishman Fluence Modern Humbucker -any updates, it's been a couple of years

Well done. The Germans certainly provide excellent data.
???

Attila Zoller was born in Hungary, and that graph belongs to the patent granted by the US Patent Office.

Are there any more graphs you'd like to share?
 
Re: Fishman Fluence Modern Humbucker -any updates, it's been a couple of years

???

Attila Zoller was born in Hungary, and that graph belongs to the patent granted by the US Patent Office.

Are there any more graphs you'd like to share?

Do you know that Attila Zoller was a Guitarist not a pup engineer?

The pups were designed and made by a German company so I assume that they wrote the patent that included this as well as other detailed data.

There is no point sharing any other data as you seem to refrain from commenting on data in itself.

You conveniently ignored the question regarding your getting a set of Fluence pups that seem to be available to you even if they aren't at your local music shop. Are you interested in getting a set or not?

It would be nice if you would make a contribution on occasion. Thus far you seem mute on details but rich in questions and excuses.
 
Last edited:
Re: Fishman Fluence Modern Humbucker -any updates, it's been a couple of years

Do you know that Attila Zoller was a Guitarist not a pup engineer?
Now you're exagerating. Again.

At least I now know your assessments come from the wrong interpretation of what you've read.

*(sound of a microphone falling)* Pepe OUT!
 
Back
Top